鉄板吊り用フック(ヤーク)|敷鉄板吊上げ・建設現場の安全作業に最適
鉄板吊り用フック
★ 原材料の高騰により価格は予告なく変更になる場合があります。
鉄板吊り用フック(ヤーク)は、建設・土木現場での敷鉄板や鋼板の吊上げ作業に最適な吊具です。
高い強度と耐久性を備え、0.5t〜5tまでの幅広い吊上げ荷重に対応。
ワイヤーロープやチェーンスリングとの組み合わせにより、安全かつ確実に鉄板を吊り上げ・設置することができます。
当社では、大洋製器工業製の高品質ヤークフックを中心に取り扱っており、使用頻度の高い0.5t・1tタイプから、重量鉄板対応の5tタイプまでラインナップ。
受注生産品にも対応しており、見積り依頼・納期確認・大量注文も柔軟に対応いたします。
長年の施工現場での信頼実績をもとに、吉川商工が現場の安全作業をしっかりサポートいたします。
特徴
高強度設計:耐荷重0.5t~5tのラインナップ。重量鉄板も安全に吊上げ可能
確実なグリップ力:鉄板の滑りや落下を防止し、安全な作業を実現。
堅牢なスチール製ボディ:耐摩耗性・耐久性に優れ、長期使用に対応。
信頼の大洋製器工業製:国内メーカーによる高品質な加工・検査体制。
受注生産対応:特殊サイズ・数量対応もご相談可能。
現場即応体制:FAX・メールで簡単見積り。全国発送いたします。
用途
敷鉄板の吊上げ・設置作業
仮設道路・仮設ヤードの敷設工事
建設・土木・解体・鉄骨工事での重量物吊り上げ
工場・ヤードでの鉄板・鋼板の運搬
橋梁・基礎工事・重機搬入時の敷鉄板設置補助
鉄板吊り用フック
| 鉄板吊り用フック(ヤーク) | ||||
| 使用荷重(t) | 本体径(mm) | 全高(mm) | 重量(kg) | 価格/個 |
| 0.5 | 28 | 250 | 3.4 | 46500円 |
| 1 | 32 | 280 | 5.5 | 57750円 |
| 2 | 36 | 340 | 7.5 | 72130円 |
| 3 | 38 | 350 | 8.5 | 78500円 |
| 5 | 50 | 390 | 18.5 | 141250円 |
| ■ 使用荷重は、2個1組の場合です。 ■ 5tは、受注生産品です。 |
||||
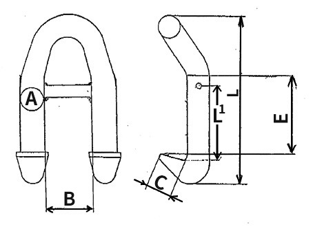
寸法表
(単位:mm)

| 使用荷重 | ΦA | B | C | L | E | L1 | 補強棒Φ |
| 0.5t | 28 | 100 | 60 | 250 | 100 | 105 | 22 |
| 1t | 32 | 130 | 70 | 280 | 150 | 130 | 25 |
| 2t | 36 | 140 | 80 | 340 | 160 | 145 | 28 |
| 3t | 38 | 160 | 90 | 350 | 170 | 155 | 32 |
| 5t | 50 | 180 | 100 | 390 | 170 | 165 | 38 |
鉄板吊り用フック
幅広ヤーク
(受注生産品)約1ヶ月
(大洋製器工業)

| 鉄板吊り用フック幅広ヤーク | ||||
| 使用荷重(t) | 本体径(mm) | 全高(mm) | 重量(kg) | 価格/個 |
| 1.0 | 25 | 350 | 4.5 | お見積り |
| 2.0 | 32 | 400 | 9 | |
| 3.0 | 38 | 450 | 15 | |
| 3.5 | 42 | 500 | 18 | |
| 5.0 | 50 | 600 | 28 | |
![]() |
||||
| ■ 使用荷重:1個の使用荷重。 | ||||
吊りフック一覧
| 鉄板吊りフック | スーパーロックフック | ユニフック | ユニフックSH型 | ビックマウススイベルフック | |||
| 鉄板用 | 鉄板用 | 鉄板用 | 鉄板用 | 鉄板用 | |||
|
|
|
|
|
|
|||
|
|
|
|
|
|
|||
| J型覆工板吊りフック | BS型覆工板吊りフック | 覆工板吊りフックFX | 敷き鉄板吊りフック | Vフック(T) | |||
| 覆工板用 | 覆工板用 | 覆工板用 | 敷き鉄板専用 | 多用途 | |||
|
|
|
|
|
|
|||
|
|
|
|
|
|
|||
| e-フック(T) | 鍛造フック | LSフック | ロッキングフック | スイベルロッキングフック | |||
| アイボルト吊り等 | 多用途 | 多用途 | 多用途 | 多用途 | |||
|
|
|
![]() |
![]() ![]() |
![]() ![]() |
|||
|
|
|
|
|
|
|||
| 別注チェーンスリング | |||||||
| ご注文承ります。 | |||||||
![]() |
|||||||
|
|
|||||||
|
■LSフックは、口が大きく、フックが掛けやすく安全面に配慮した当社おすすめの新製品! ■ Vフックは、特殊合金鋼製でフトコロが大きく、ロープの立ち上がりによる外れを防止! ■ e-フックは、アイボルトなどの小さい穴に挿入し、吊上げためのフックです。 |
|||||||
スーパーツール吊りクランプ一覧
関連商品
|
玉掛けワイヤー ロック止めワイヤー |
シャックル | ワイヤー加工品 | ワイヤーモッコ |
![]() |
![]() |
|
![]() |
|
|
|
|
|






















